×
×
×
앱 이용 안내
×
앱 이용 안내
소방넷 "최신소방관련법규"
01 소방법
02 화재안전기준
03 소방법고시/훈령
04 화재안전기준 해설서
05 시방서, 절차서 등
06 주요사용양식
07 연혁소방법
08 건축법/건축법고시
09 형식승인기준
10 업무처리지침
11 소방법규용어집
12 화재안전기준 표지판
법규해석
소방기술
소방공부
공지사항
로그인
회원가입
[ 버전 정보 ]
Ver 2021.05.29
정평 "소방법"
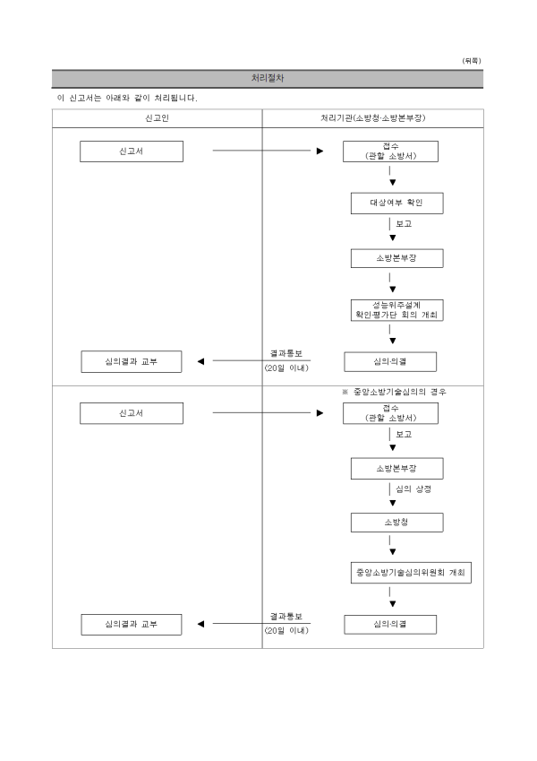
[설계] 성능위주설계 신고서
전체
설계
공사
감리
점검
안전관리
위험물
다중이용업
설계 | [설계] 성능위주설계 신고서
yourweb
목록
홈으로
즐겨찾기
맨위로
전체검색
맨 아래로
만든사람들
×